2022护网日记第十一天

作者:FancyPig | 发布时间: | 更新时间:

杂谈

今天的分享分为三部分

  • 恶意IP/域名情报
  • 一些厂商漏洞汇总
  • 你关心的趣事

恶意IP/域名情报

共计513个恶意IP

一些厂商漏洞汇总

出于政策考虑,暂不更新。

你关心的趣事

Xray1.9.1更新了?可以分享一下吗?

data-postsbox="{"id":21407,"title":"Chaitin/xray1.9.1最新社区高级版 包含555POC 附license","author":"FancyPig","author_id":1,"cover_image":"https://static.pigsec.cn/wp-content/uploads/2022/08/20220804103331530.png","cover_video":"","views":10200,"comment_count":39,"category":"software","is_forum_post":false}">{"id":21407,"title":"Chaitin/xray1.9.1最新社区高级版 包含555POC 附license","author":"FancyPig","author_id":1,"cover_image":"https://static.pigsec.cn/wp-content/uploads/2022/08/20220804103331530.png","cover_video":"","views":10200,"comment_count":39,"category":"software","is_forum_post":false}

看了这么多不过瘾,有没有渗透测试的视频课程?

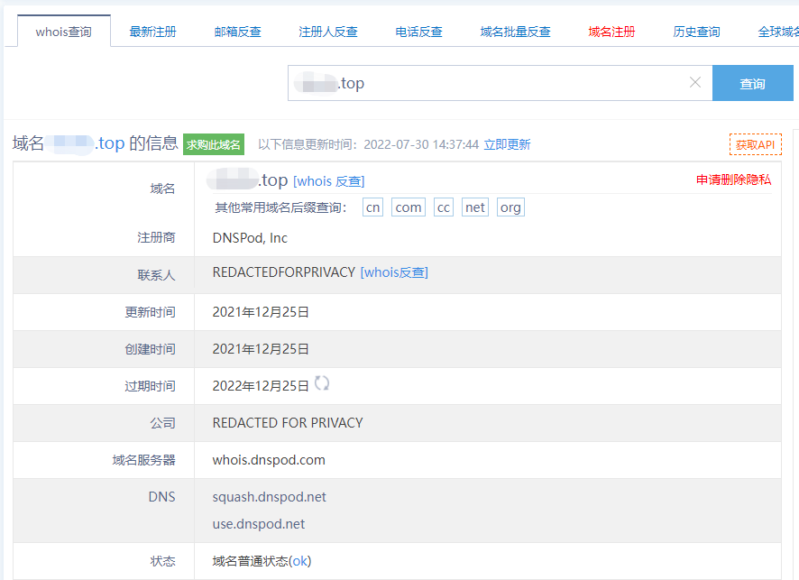
溯源小技巧?WHOIS查询的小技巧?

建议使用http://whoissoft.com/部分域名可以看到注册者、注册地点的信息,举个栗子

我们随便拿站长工具的whois查询测试下,发现什么都看不到

对比上面推荐的工具,我们还可以看到这个域名是在北京注册的,而且域名所有者姓名英文也有记录!

每日可供学习的钓鱼🎣样本?

https://www.virscan.org/report/fe9f7a5df0aa50a1289c175d1a4a9006a2bb2f9ae48db3160d0a875c2dd914d6自动赚钱系统.exeEXE 钓鱼
https://www.virscan.org/report/4da84db8bbc4e985b390883f8fe5bda4c6165d8d354e1bd4e232d57c0e770fb0Base32_Decode.exeEXE 工具 多检出
https://www.virscan.org/report/519cdcd72eac4e2f4815eb0d0817349eabfe1095e87c80b708a6cc916a110c86数据加密编码工具StrEncode.exe
https://www.virscan.org/report/90f9c67b85f05be1bdfe776fc65c5a3bd5b4ddd3c8a3a2a24dc2eebe662a5e8a0version.dll免杀
https://www.virscan.org/report/90f2e9d98be2647d3aaa099fedf743fe4b923e7d15ec666a79bd3fcb00b7dc8everion.dll
https://www.virscan.org/report/78858a63f00ea9b69de6d67462cb5540f215aed86ec31a3f7c00e781b6490c9c00version.dll
https://www.virscan.org/report/51f4e1ce50e7e690eb6c4a393830b527768c456a85f3b761f17698124e14302a
https://www.virscan.org/report/e9edc06f711f28e1329122b49b292b84146be4e7b86af45b51970b3ff3804ab1
https://www.virscan.org/report/eb5aaa451e044f936b7aecc2a888017786f4398ae073f1e91a11d7dd2557b990Xmain.exeEXE 免杀
https://www.virscan.org/report/1231ffbbcf9c4130acd04ef96f071ebdab6177d80b7ffb96cf43f1e9b8f55783Xmain.exe
https://www.virscan.org/report/37b7c02fc19e3d721b787949bfa43bf77919ebd6c374b447281db9056308a2a5fatalcrack_loader.exeexe 多检出
https://www.virscan.org/report/2940b083c4757d18883d7ba1eed98413f10a1b211b0e1df4525d4bb965f48616Google Chrome !.exeexe 多检出 钓鱼
https://www.virscan.org/report/31bf2e4f956561285a15b0ef98255f0a0e35cdf195fd525a2e305a1b775d9f0b心情·助手-非华为电脑管家助手 2.11(多窗口破解).exeEXE 多检出
https://www.virscan.org/report/5e5fc2bca9412c8b3c6920cd9a2a4cfc8cd2f41b4c133d8bf5223806a72bbfa5vnhpfvmetj.exe
https://www.virscan.org/report/daf80a87dee5e01a031119b0ad66c01a88358bc82b13ebf7e8e430ebdb5d93cbxqgj2.41.exeEXE
https://www.virscan.org/report/038766617aae25b10476933da101116e1de137ce0980e2594e90ea93f51ef412洞察游资1.1.exeEXE 钓鱼
https://www.virscan.org/report/2688d82e91d029fb33f746ee1cd3ea48dcc8d27dac871f4548206f863de001cashellcode.binshellcode
https://www.virscan.org/report/b3c2eb87d5094221626cdbb659be4adad237d3514274156266dd1a985be49185Softany-CHM-to-PDF-converter.exeEXE ML
https://www.virscan.org/report/66426afdde3b0ef1558b7fbc076f37029821d61f31026f04ca54d80c52cd5ad4scanv3.exeEXE
https://www.virscan.org/report/15e2fcbe4a9cfca3eba9306942be719142980be3ed0e9a65855cb0c3576c8528( FastDNS ).exeEXExqgj2.41.exe
https://www.virscan.org/report/5dd09725251d35439f1387461785e48c1976756f90d21a1698df561ab4f34c23XMain.exeEXE 免杀
https://www.virscan.org/report/7e85cbe4ddba4cdb56f55aa4f987449c8aff4c60388262fcbbc15ea83b710a55VHDManager.exe
https://www.virscan.org/report/3a7e8dd5e5da0f261a0da39e9d99f9d34c427011c88b5f260e4571a0a7060941DLL.dll
https://www.virscan.org/report/b434457ed1f6e32387c92d02be83a686b0307a0ae50391d8dc62aa85373d84be盐城在线.exeEXE 钓鱼
https://www.virscan.org/report/95437f95a4f0264986390b70620abf9bff586aec1e3dc3a8ab45264855d15256小葵多功能转换工具.exeEXE多检出
https://www.virscan.org/report/a48e45fd70311b5bd396450f631cdef95996f53c46865d1f50ecce3a282ef74fMicrosoft Alarm Clock.exeEXE 钓鱼
https://www.virscan.org/report/a5c50f7722fe9e54ba88f0929d51a238c064063e41e0ac3bf5d171d5cbc97a21XFunction.dllDLL loader
https://www.virscan.org/report/c3b749ec07418641371bc19d93fc0507d080d11f6ff569ebca0775134897f7fb
https://www.virscan.org/report/39ae22ff4a704271087f85481d6c0907689a4b5281f21e2899fda2e0ceec5a27300.exeEXEhttps://passport.jumpw.com/index.jsp,http://39.105.137.200:8906,http://120.92.169.246:9999,http://customer.jumpw.com/viewnews.jsp?id=12,https://passport.jumpw.com/views/iauth.jsp,http://passport.jumpw.com,http://www.baidu.com,http://activity.jumpw.com/300hero/videolive/index.jsp,http://g.jumpw.com/h5.jsp?Merid=810002,http://120.92.139.222:6009/h5/jump/food?,http://g.jumpw.com/h5/nologin.jsp?,https://passport.jumpw.com/buy?,http://youxi.baidu.com/user_center.xhtml?c=realNameVerify,http://300.activity.jumpw.com/cases2020/hyxhn/index#,http://pay.feihuo.com/pay/index/slug/sbyx,https://passport.jumpw.com/,http://300qqplatform.jumpw.com/purchase.jsp?,http://u.4399.com/user/realname,http://my.4399.com/forums/mtag-83577,http://300.jumpw.com/details/39/4760.html,http://192.168.0.1/,http://passport.jumpw.com/UserBasePage/UpdateUser/regetpassword.jsp,http://passport.jumpw.com/UserBasePage/Register/creation.jsp?cg=82&co=%d,http://youxi.baidu.com/login.xhtml,http://passport.jumpw.com/UserBasePage/Register/creation.jsp,http://300.jumpw.com,http://300report.jumpw.com/list.html?name=%s,http://bbs.jumpw.com/forums/list.page,http://www.300hero.com/ranking.html?QueryAccessKey=%u,http://log.jumpwo.com/report/init,http://log.jumpwo.com/report/event,http://192.168.12.10:8888/xclient_unpack/,https://300report.jumpw.com/list.html?name=%s,http://300.jumpw.com/Activity/cdn/client/index.html,https://300activity.jumpw.com/cases2021/dkcup/index,http://gamevip.qq.com/?ADTAG=VIP.WEB.300yx,http://test.hhhoo.com/Test_cswang/index.jsp?,http://www.openssl.org/support/faq.html,https://curl.haxx.se/docs/http-cookies.html,http://crl.comodoca.com/AAACertificateServices.crl04,http://ocsp.comodoca.com0,http://ocsp.digicert.com0C,http://cacerts.digicert.com/DigiCertAssuredIDRootCA.crt0E,http://crl3.digicert.com/DigiCertAssuredIDRootCA.crl0,http://crl.sectigo.com/SectigoPublicCodeSigningRootR46.crl0,http://crt.sectigo.com/SectigoPublicCodeSigningRootR46.p7c0#,http://ocsp.sectigo.com0,http://ocsp.digicert.com0A,http://cacerts.digicert.com/DigiCertTrustedRootG4.crt0C,http://crl3.digicert.com/DigiCertTrustedRootG4.crl0,http://crl3.digicert.com/DigiCertTrustedG4RSA4096SHA256TimeStampingCA.crl0,http://ocsp.digicert.com0X,http://cacerts.digicert.com/DigiCertTrustedG4RSA4096SHA256TimeStampingCA.crt0,https://sectigo.com/CPS0,http://crl.sectigo.com/SectigoPublicCodeSigningCAEVR36.crl0,http://crt.sectigo.com/SectigoPublicCodeSigningCAEVR36.crt0#,http://ocsp.sectigo.com00,http://crl.comodoca.com/AAACertificateServices.crl04,http://ocsp.comodoca.com0,http://crl.sectigo.com/SectigoPublicCodeSigningRootR46.crl0,http://crt.sectigo.com/SectigoPublicCodeSigningRootR46.p7c0#,http://ocsp.sectigo.com0,https://sectigo.com/CPS0,http://crl.sectigo.com/SectigoPublicCodeSigningCAEVR36.crl0,http://crt.sectigo.com/SectigoPublicCodeSigningCAEVR36.crt0#,http://ocsp.sectigo.com00,http://crl3.digicert.com/DigiCertTrustedG4RSA4096SHA256TimeStampingCA.crl0,http://ocsp.digicert.com0X,http://cacerts.digicert.com/DigiCertTrustedG4RSA4096SHA256TimeStampingCA.crt0,http://ocsp.digicert.com0A,http://cacerts.digicert.com/DigiCertTrustedRootG4.crt0C,http://crl3.digicert.com/DigiCertTrustedRootG4.crl0,http://ocsp.digicert.com0C,http://cacerts.digicert.com/DigiCertAssuredIDRootCA.crt0E,http://crl3.digicert.com/DigiCertAssuredIDRootCA.crl0,::
https://www.virscan.org/report/4b56db5de0dae31238ef59b22ece69184027f7d3383c31508779a184a825dcddregister.vmp.exeEXE 伪装注册表编辑器
https://www.virscan.org/report/7583779bdf45351b4be632ab610f6cae695358a5741b0d4d98b013a46138b3171.exeEXE 多检出
https://www.virscan.org/report/a8b7ba262e347d85c4b1f480dd0c876d37fcad187e4729586dc6b80cadcf0d78OH2合成器.exeEXE 多检出
https://www.virscan.org/report/47168a1cd76ae7a9edf18d1a3a2ec1fab1e48cf188bcb0a028d797e760926fd2点我校验文件完整性.batbat 多检出
https://www.virscan.org/report/bd988519c6a0494a48c7f7b0f94e1b76e315dca78052adfd423acc2ab8d6e4f6fscan.exe黑客工具
https://www.virscan.org/report/3ed90ea12f73dcdc2b63353424874949bb4e942a9f96ad4da227d2cee0c113c9基于办公OA系统的社会工程学防护技战法(1).docx钓鱼
https://www.virscan.org/report/4c6d0cbe66158eb8d11b699a5637c6e9ae2eb7ed4954a4401f841a8d1efbbda4shellcodeeee.binshellcode
https://www.virscan.org/report/a8cfcf590815e4a321921825661f45a8ddbdf5bf24de576699fe434a7c8fe232chm.pdf.converter2.0.exeEXE 工具
https://www.virscan.org/report/34309c1f75b109faab741dc20969bd588913ad4b00247d73a5888f45531ec5ffchmpdf_v2.25.1.exe
https://www.virscan.org/report/b89300fca837f3a675b223d9c73ac81fecb97954df5b4cc96d00c348d5e5c120文本处理(1).rardoc
https://www.virscan.org/report/d5a4f0ab9802c9cfa0d6efa69dad723711e058cae1be977784b4f8009630618e2019影子卫士1.4.0.653免激活中文破解版.exe
https://www.virscan.org/report/34b0103c75242b2f853ffd69f866b5075f4e1837d2a2b1afa5102cda0d87b239MD5验证.vmp.exevmp
https://www.virscan.org/report/d2c3ba4545b3a730212c34ac0ec3f40b503933bdc3c9aea43027bfd8649f7bcd55665.exeEXE
https://www.virscan.org/report/63995d25eed98bdec61ccfd7f2083cdfe8b228acee76208ca3fd33c3ac45685eSteamAccountSwitcher.exe
https://www.virscan.org/report/9524b5725ed88cce63b0f3b43a4f5eb3728688cfd47c7ab4b748d69947ec5f50typora补丁.zip工具
https://www.virscan.org/report/4ef439ef4affb6c3eed74eee9e499ab5eb167fbb014d319ecea9fd03fef6f156点我启动.exeEXE 钓鱼
https://www.virscan.org/report/30dfefcf070ce9b8840ee4a0c62832e46ce5680a32d0fcde84fe12759922c119MergeSettingsCmd.exe免杀http://freedns.afraid.org/api/?action=getdyndns&sha=a30fa98efc092684e8d1c5cff797bcc613562978,https://docs.google.com/uc?id=0BxsMXGfPIZfSVlVsOGlEVGxuZVk&export=download,https://www.dropbox.com/s/n1w4p8gc6jzo0sg/SUpdate.ini?dl=1,http://xred.site50.net/syn/SUpdate.ini,https://docs.google.com/uc?id=0BxsMXGfPIZfSVzUyaHFYVkQxeFk&export=download,https://www.dropbox.com/s/zhp1b06imehwylq/Synaptics.rar?dl=1,http://xred.site50.net/syn/Synaptics.rar,https://docs.google.com/uc?id=0BxsMXGfPIZfSTmlVYkxhSDg5TzQ&export=download,https://www.dropbox.com/s/fzj752whr3ontsm/SSLLibrary.dll?dl=1,http://xred.site50.net/syn/SSLLibrary.dll,2:6::
https://www.virscan.org/report/57721d059af02f2a4adb9d2d97cf569ee5c7632ef28e9a18750b4a6147dc7049
https://www.virscan.org/report/50d86f5d87e1317a88a9964dea4f90abe034883bf0cf7412c5335c85ca8f767a
https://www.virscan.org/report/6721c9bb4a3a79dc840b21db74ae2c1e1c2e134651c157e8f1fd8cdfe4004b14[必备前置]Patcher-1.8.1 (1.8.9).jar
https://www.virscan.org/report/6b6c87b6a9193663b0802ac983603440f75db1009e3d378c613741ecf07c5cecJing_Lite 1.1__.rar
https://www.virscan.org/report/8b53818edaecbc44bf0206d270f9489aa49f36c178bc49dee0d08b53970da257test.docm
https://www.virscan.org/report/dc877de0da128b393ea475fc7514195c12056fb33f51a265a3d469aac2469938windows优化工具.zip钓鱼 多检出
https://www.virscan.org/report/f52d3ab6a9100977c3fce74ba8d5b8e683a9e40dcbec04152e713a58c269fd512022护理考试考后对答案.html.downloadDOC
标签:漏洞, 域名