如何通过王者营地抓包分析获取营地ID、对局战绩、历史赛季战绩、QQ号?
作者:FancyPig | 发布时间: | 更新时间:
相关声明
以下教程仅用于学习、研究目的,请勿用于非法用途
相关阅读
我们之前其实已经出了很多期QQ相关的有趣内容
但是还有很多热心网友表示有没有和王者营地相关的黑科技,综合网友们之前在猪猪粉群里分享的内容,我们今天来水一期内容,不喜勿喷。
快捷获取本文工具
在猪猪安全公众号上输入王者营地工具

抓包分析
准备工作
如果你不喜欢抓包分析来探索原生的内容,可以直接跳过看下面的工具篇
我们这里默认你已经配置好了Charles
小知识铺垫:Curl
下面我们会稍微提及Curl的概念,如果你想深入了解可以阅读《阮一峰:curl 的用法指南》
我们这里简单的来讲解一下,Curl工具其实就是模拟了我们正常访问页面时候的请求
譬如,我们想下载一个文件,我们通常的作法是,打开页面右键另存为

而Curl工具则是一行命令就把图片下载下来了
curl -O https://www.pigsec.cn/icon/logo_60_60.png

上面是典型的get请求,而我们对接口请求通常会使用Post,这时会用到-d参数,接下来的抓包里,你可以看到我们可以通过快速复制cURL请求还原Post请求中的Payload参数,从而找到我们向接口提交了哪些参数,这样通过修改参数就能实现从接口层我们来获取一些数据
王者荣耀战绩
点开王者荣耀战绩页面


- 请求URL
https://kohcamp.qq.com/game/morebattlelist
- 请求参数
参数比较多,可以通过抓包获取参数然后复制Curl里的--data-binary内容
| 参数名 | 类型 | 说明 |
|---|---|---|
| gameServerId | String | 服务器ID |
| userId | String | 查询王者营地ID |
请求参数众多,其实比较简单的方法是我们可以点击Copy cURL Request

然后就可以看见完整的cURL请求了,然后修改要查询的参数,之后我们可以修改参数然后在终端里运行即可
- 返回内容
{
"returnCode": 0,
"returnMsg": "",
"data": {
"list": [{
"dtEventTime": "1652361852",
"gametype": 4,
"winCamp": 1,
"gametime": "05-12 21:11",
"killcnt": 0,
"deadcnt": 8,
"assistcnt": 2,
"gameresult": 2,
"mvpcnt": 0,
"losemvp": 0,
"heroId": 141,
"AcntCamp": 2,
"teamNum": 1,
"mapName": "排位赛",
"detailUrl": "https://h5.kohsocialapp.qq.com/app/wzry/zj_detail?gameSvrId=179259\u0026relaySvrId=337183490\u0026gameseq=1652360880\u0026pvptype=5",
"rampage": 0,
"gameSvrId": "179259",
"relaySvrId": "337183490",
"gameSeq": "1652360880",
"pvpType": 5,
"multiCampRank": 2,
"battleType": 16,
"branchEvaluate": 0,
"oldMasterMatchScore": 0,
"newMasterMatchScore": 0,
"battleRoyaleEvaluate": 0,
"hero1TripleKillCnt": 0,
"hero1UltraKillCnt": 0,
"hero1RampageCnt": 0,
"sixKill": 0,
"sevenKill": 0,
"usedTime": 785,
"godLikeCnt": 0,
"firstBlood": 0,
"pveRateLvl": 0,
"playerRank": 0,
"winNum": 0,
"failNum": 0,
"roleJob": 26,
"roleJobName": "至尊星耀I",
"stars": 1,
"desc": "",
"analyseUrl": "https://camp.qq.com/h5/webdist/team-analyzev2.html?sonic_remain_params=gameseq;relaysvrentity;gamesvrentity\u0026gameseq=1652360880\u0026relaysvrentity=337183490\u0026playerid=1278639410\u0026roleName=麦兜\u0026uniqueRoleId=2211552603\u0026roleId=1278639410",
"battleDetailUrl": "smobagamehelper://hippy?modulename=battledetail\u0026toGameOpenId=258B0523E49BD41C7C01E7C8A1D8A3B6\u0026toServerId=2085\u0026toAreaId=2\u0026toAppRoleId=2211552603\u0026toGameRoleId=1278639410\u0026gameSvrId=179259\u0026relaySvrId=337183490\u0026gameSeq=1652360880\u0026pvpType=5\u0026acntCamp=2\u0026battleType=16",
"evaluateUrl": "",
"heroIcon": "https://shp.qpic.cn/tgos/201703m3/644f0ca92ff377159707446451cfe010/0",
"chessIds": ""
}, {
"dtEventTime": "1652331274",
"gametype": 4,
"winCamp": 2,
"gametime": "05-12 12:35",
"killcnt": 2,
"deadcnt": 12,
"assistcnt": 21,
"gameresult": 1,
"mvpcnt": 0,
"losemvp": 0,
"heroId": 168,
"AcntCamp": 2,
"teamNum": 1,
"mapName": "排位赛",
"detailUrl": "https://h5.kohsocialapp.qq.com/app/wzry/zj_detail?gameSvrId=176683\u0026relaySvrId=236585730\u0026gameseq=1652329937\u0026pvptype=5",
"rampage": 0,
"gameSvrId": "176683",
"relaySvrId": "236585730",
"gameSeq": "1652329937",
"pvpType": 5,
"multiCampRank": 1,
"battleType": 16,
"branchEvaluate": 0,
"oldMasterMatchScore": 0,
"newMasterMatchScore": 0,
"battleRoyaleEvaluate": 0,
"hero1TripleKillCnt": 0,
"hero1UltraKillCnt": 0,
"hero1RampageCnt": 0,
"sixKill": 0,
"sevenKill": 0,
"usedTime": 1167,
"godLikeCnt": 0,
"firstBlood": 0,
"pveRateLvl": 0,
"playerRank": 0,
"winNum": 0,
"failNum": 0,
"roleJob": 26,
"roleJobName": "至尊星耀I",
"stars": 1,
"desc": "翻盘局",
"analyseUrl": "https://camp.qq.com/h5/webdist/team-analyzev2.html?sonic_remain_params=gameseq;relaysvrentity;gamesvrentity\u0026gameseq=1652329937\u0026relaysvrentity=236585730\u0026playerid=1278639410\u0026roleName=麦兜\u0026uniqueRoleId=2211552603\u0026roleId=1278639410",
"battleDetailUrl": "smobagamehelper://hippy?modulename=battledetail\u0026toGameOpenId=258B0523E49BD41C7C01E7C8A1D8A3B6\u0026toServerId=2085\u0026toAreaId=2\u0026toAppRoleId=2211552603\u0026toGameRoleId=1278639410\u0026gameSvrId=176683\u0026relaySvrId=236585730\u0026gameSeq=1652329937\u0026pvpType=5\u0026acntCamp=2\u0026battleType=16",
"evaluateUrl": "",
"heroIcon": "https://shp.qpic.cn/tgos/201703m3/f55c6124c5ec84453e63cdc768d2653a/0",
"chessIds": ""
}, {
"dtEventTime": "1652283483",
"gametype": 4,
"winCamp": 1,
"gametime": "05-11 23:16",
"killcnt": 7,
"deadcnt": 8,
"assistcnt": 10,
"gameresult": 2,
"mvpcnt": 0,
"losemvp": 0,
"heroId": 518,
"AcntCamp": 2,
"teamNum": 5,
"mapName": "排位赛(五排)",
"detailUrl": "https://h5.kohsocialapp.qq.com/app/wzry/zj_detail?gameSvrId=152231\u0026relaySvrId=723058946\u0026gameseq=1652281981\u0026pvptype=5",
"rampage": 0,
"gameSvrId": "152231",
"relaySvrId": "723058946",
"gameSeq": "1652281981",
"pvpType": 5,
"multiCampRank": 2,
"battleType": 15,
"branchEvaluate": 2,
"oldMasterMatchScore": 0,
"newMasterMatchScore": 0,
"battleRoyaleEvaluate": 0,
"hero1TripleKillCnt": 0,
"hero1UltraKillCnt": 0,
"hero1RampageCnt": 0,
"sixKill": 0,
"sevenKill": 0,
"usedTime": 1320,
"godLikeCnt": 0,
"firstBlood": 0,
"pveRateLvl": 0,
"playerRank": 0,
"winNum": 0,
"failNum": 0,
"roleJob": 25,
"roleJobName": "至尊星耀I",
"stars": 5,
"desc": "尽力局",
"analyseUrl": "https://camp.qq.com/h5/webdist/team-analyzev2.html?sonic_remain_params=gameseq;relaysvrentity;gamesvrentity\u0026gameseq=1652281981\u0026relaysvrentity=723058946\u0026playerid=1278639410\u0026roleName=麦兜\u0026uniqueRoleId=2211552603\u0026roleId=1278639410",
"battleDetailUrl": "smobagamehelper://hippy?modulename=battledetail\u0026toGameOpenId=258B0523E49BD41C7C01E7C8A1D8A3B6\u0026toServerId=2085\u0026toAreaId=2\u0026toAppRoleId=2211552603\u0026toGameRoleId=1278639410\u0026gameSvrId=152231\u0026relaySvrId=723058946\u0026gameSeq=1652281981\u0026pvpType=5\u0026acntCamp=2\u0026battleType=15",
"evaluateUrl": "http://camp.qq.com/meta-data/evaluate-v2/silver_warrior_1.png",
"heroIcon": "https://shp.qpic.cn/tgos/3443/1911424ee0eca526fea9d19727199af5/0",
"chessIds": ""
}, {
"dtEventTime": "1652281864",
"gametype": 4,
"winCamp": 1,
"gametime": "05-11 23:00",
"killcnt": 2,
"deadcnt": 3,
"assistcnt": 3,
"gameresult": 2,
"mvpcnt": 0,
"losemvp": 1,
"heroId": 502,
"AcntCamp": 2,
"teamNum": 5,
"mapName": "排位赛(五排)",
"detailUrl": "https://h5.kohsocialapp.qq.com/app/wzry/zj_detail?gameSvrId=75992\u0026relaySvrId=1377370881\u0026gameseq=1652281081\u0026pvptype=5",
"rampage": 0,
"gameSvrId": "75992",
"relaySvrId": "1377370881",
"gameSeq": "1652281081",
"pvpType": 5,
"multiCampRank": 2,
"battleType": 15,
"branchEvaluate": 0,
"oldMasterMatchScore": 0,
"newMasterMatchScore": 0,
"battleRoyaleEvaluate": 0,
"hero1TripleKillCnt": 0,
"hero1UltraKillCnt": 0,
"hero1RampageCnt": 0,
"sixKill": 0,
"sevenKill": 0,
"usedTime": 616,
"godLikeCnt": 0,
"firstBlood": 0,
"pveRateLvl": 0,
"playerRank": 0,
"winNum": 0,
"failNum": 0,
"roleJob": 25,
"roleJobName": "至尊星耀I",
"stars": 5,
"desc": "尽力局",
"analyseUrl": "https://camp.qq.com/h5/webdist/team-analyzev2.html?sonic_remain_params=gameseq;relaysvrentity;gamesvrentity\u0026gameseq=1652281081\u0026relaysvrentity=1377370881\u0026playerid=1278639410\u0026roleName=麦兜\u0026uniqueRoleId=2211552603\u0026roleId=1278639410",
"battleDetailUrl": "smobagamehelper://hippy?modulename=battledetail\u0026toGameOpenId=258B0523E49BD41C7C01E7C8A1D8A3B6\u0026toServerId=2085\u0026toAreaId=2\u0026toAppRoleId=2211552603\u0026toGameRoleId=1278639410\u0026gameSvrId=75992\u0026relaySvrId=1377370881\u0026gameSeq=1652281081\u0026pvpType=5\u0026acntCamp=2\u0026battleType=15",
"evaluateUrl": "",
"heroIcon": "https://shp.qpic.cn/tgos/5303/dafffc797ab132f121bec439bd57d5a7/0",
"chessIds": ""
}, {
"dtEventTime": "1652280809",
"gametype": 4,
"winCamp": 2,
"gametime": "05-11 22:35",
"killcnt": 11,
"deadcnt": 5,
"assistcnt": 6,
"gameresult": 1,
"mvpcnt": 1,
"losemvp": 0,
"heroId": 173,
"AcntCamp": 2,
"teamNum": 5,
"mapName": "排位赛(五排)",
"detailUrl": "https://h5.kohsocialapp.qq.com/app/wzry/zj_detail?gameSvrId=75787\u0026relaySvrId=-2095447807\u0026gameseq=1652279499\u0026pvptype=5",
"rampage": 0,
"gameSvrId": "75787",
"relaySvrId": "-2095447807",
"gameSeq": "1652279499",
"pvpType": 5,
"multiCampRank": 1,
"battleType": 15,
"branchEvaluate": 5,
"oldMasterMatchScore": 0,
"newMasterMatchScore": 0,
"battleRoyaleEvaluate": 0,
"hero1TripleKillCnt": 0,
"hero1UltraKillCnt": 0,
"hero1RampageCnt": 0,
"sixKill": 0,
"sevenKill": 0,
"usedTime": 1095,
"godLikeCnt": 0,
"firstBlood": 0,
"pveRateLvl": 0,
"playerRank": 0,
"winNum": 0,
"failNum": 0,
"roleJob": 25,
"roleJobName": "至尊星耀I",
"stars": 5,
"desc": "实力局",
"analyseUrl": "https://camp.qq.com/h5/webdist/team-analyzev2.html?sonic_remain_params=gameseq;relaysvrentity;gamesvrentity\u0026gameseq=1652279499\u0026relaysvrentity=-2095447807\u0026playerid=1278639410\u0026roleName=麦兜\u0026uniqueRoleId=2211552603\u0026roleId=1278639410",
"battleDetailUrl": "smobagamehelper://hippy?modulename=battledetail\u0026toGameOpenId=258B0523E49BD41C7C01E7C8A1D8A3B6\u0026toServerId=2085\u0026toAreaId=2\u0026toAppRoleId=2211552603\u0026toGameRoleId=1278639410\u0026gameSvrId=75787\u0026relaySvrId=-2095447807\u0026gameSeq=1652279499\u0026pvpType=5\u0026acntCamp=2\u0026battleType=15",
"evaluateUrl": "http://camp.qq.com/meta-data/evaluate-v2/gold_archer_1.png",
"heroIcon": "https://shp.qpic.cn/tgos/7704/20bb4b99d17b62df85def87f2f93f107/0",
"chessIds": ""
}, {
"dtEventTime": "1652279453",
"gametype": 4,
"winCamp": 1,
"gametime": "05-11 22:17",
"killcnt": 11,
"deadcnt": 1,
"assistcnt": 10,
"gameresult": 1,
"mvpcnt": 1,
"losemvp": 0,
"heroId": 199,
"AcntCamp": 1,
"teamNum": 5,
"mapName": "排位赛(五排)",
"detailUrl": "https://h5.kohsocialapp.qq.com/app/wzry/zj_detail?gameSvrId=151501\u0026relaySvrId=639041794\u0026gameseq=1652278447\u0026pvptype=5",
"rampage": 0,
"gameSvrId": "151501",
"relaySvrId": "639041794",
"gameSeq": "1652278447",
"pvpType": 5,
"multiCampRank": 1,
"battleType": 15,
"branchEvaluate": 5,
"oldMasterMatchScore": 0,
"newMasterMatchScore": 0,
"battleRoyaleEvaluate": 0,
"hero1TripleKillCnt": 0,
"hero1UltraKillCnt": 0,
"hero1RampageCnt": 0,
"sixKill": 0,
"sevenKill": 0,
"usedTime": 819,
"godLikeCnt": 1,
"firstBlood": 0,
"pveRateLvl": 0,
"playerRank": 0,
"winNum": 0,
"failNum": 0,
"roleJob": 25,
"roleJobName": "至尊星耀I",
"stars": 4,
"desc": "暴走局",
"analyseUrl": "https://camp.qq.com/h5/webdist/team-analyzev2.html?sonic_remain_params=gameseq;relaysvrentity;gamesvrentity\u0026gameseq=1652278447\u0026relaysvrentity=639041794\u0026playerid=1278639410\u0026roleName=麦兜\u0026uniqueRoleId=2211552603\u0026roleId=1278639410",
"battleDetailUrl": "smobagamehelper://hippy?modulename=battledetail\u0026toGameOpenId=258B0523E49BD41C7C01E7C8A1D8A3B6\u0026toServerId=2085\u0026toAreaId=2\u0026toAppRoleId=2211552603\u0026toGameRoleId=1278639410\u0026gameSvrId=151501\u0026relaySvrId=639041794\u0026gameSeq=1652278447\u0026pvpType=5\u0026acntCamp=1\u0026battleType=15",
"evaluateUrl": "http://camp.qq.com/meta-data/evaluate-v2/gold_archer_1.png",
"heroIcon": "https://shp.qpic.cn/tgos/14259/0a8ca6dc16b0c8fc1d03f88676e9ed73/0",
"chessIds": ""
}, {
"dtEventTime": "1652278140",
"gametype": 4,
"winCamp": 2,
"gametime": "05-11 21:54",
"killcnt": 5,
"deadcnt": 1,
"assistcnt": 6,
"gameresult": 1,
"mvpcnt": 1,
"losemvp": 0,
"heroId": 111,
"AcntCamp": 2,
"teamNum": 2,
"mapName": "排位赛(双排)",
"detailUrl": "https://h5.kohsocialapp.qq.com/app/wzry/zj_detail?gameSvrId=207153\u0026relaySvrId=152503554\u0026gameseq=1652277099\u0026pvptype=5",
"rampage": 0,
"gameSvrId": "207153",
"relaySvrId": "152503554",
"gameSeq": "1652277099",
"pvpType": 5,
"multiCampRank": 1,
"battleType": 12,
"branchEvaluate": 6,
"oldMasterMatchScore": 0,
"newMasterMatchScore": 0,
"battleRoyaleEvaluate": 0,
"hero1TripleKillCnt": 0,
"hero1UltraKillCnt": 0,
"hero1RampageCnt": 0,
"sixKill": 0,
"sevenKill": 0,
"usedTime": 849,
"godLikeCnt": 0,
"firstBlood": 0,
"pveRateLvl": 0,
"playerRank": 0,
"winNum": 0,
"failNum": 0,
"roleJob": 25,
"roleJobName": "至尊星耀I",
"stars": 3,
"desc": "实力局",
"analyseUrl": "https://camp.qq.com/h5/webdist/team-analyzev2.html?sonic_remain_params=gameseq;relaysvrentity;gamesvrentity\u0026gameseq=1652277099\u0026relaysvrentity=152503554\u0026playerid=1278639410\u0026roleName=麦兜\u0026uniqueRoleId=2211552603\u0026roleId=1278639410",
"battleDetailUrl": "smobagamehelper://hippy?modulename=battledetail\u0026toGameOpenId=258B0523E49BD41C7C01E7C8A1D8A3B6\u0026toServerId=2085\u0026toAreaId=2\u0026toAppRoleId=2211552603\u0026toGameRoleId=1278639410\u0026gameSvrId=207153\u0026relaySvrId=152503554\u0026gameSeq=1652277099\u0026pvpType=5\u0026acntCamp=2\u0026battleType=12",
"evaluateUrl": "http://camp.qq.com/meta-data/evaluate-v2/silver_archer_1.png",
"heroIcon": "https://shp.qpic.cn/tgos/292/5a7c4668dd5ee3b6117ac738d543d4ad/0",
"chessIds": ""
}, {
"dtEventTime": "1652276784",
"gametype": 4,
"winCamp": 2,
"gametime": "05-11 21:35",
"killcnt": 10,
"deadcnt": 0,
"assistcnt": 6,
"gameresult": 1,
"mvpcnt": 1,
"losemvp": 0,
"heroId": 518,
"AcntCamp": 2,
"teamNum": 2,
"mapName": "排位赛(双排)",
"detailUrl": "https://h5.kohsocialapp.qq.com/app/wzry/zj_detail?gameSvrId=206380\u0026relaySvrId=471270658\u0026gameseq=1652275973\u0026pvptype=5",
"rampage": 0,
"gameSvrId": "206380",
"relaySvrId": "471270658",
"gameSeq": "1652275973",
"pvpType": 5,
"multiCampRank": 1,
"battleType": 12,
"branchEvaluate": 1,
"oldMasterMatchScore": 0,
"newMasterMatchScore": 0,
"battleRoyaleEvaluate": 0,
"hero1TripleKillCnt": 0,
"hero1UltraKillCnt": 0,
"hero1RampageCnt": 0,
"sixKill": 0,
"sevenKill": 0,
"usedTime": 636,
"godLikeCnt": 1,
"firstBlood": 1,
"pveRateLvl": 0,
"playerRank": 0,
"winNum": 0,
"failNum": 0,
"roleJob": 25,
"roleJobName": "至尊星耀I",
"stars": 2,
"desc": "带飞局",
"analyseUrl": "https://camp.qq.com/h5/webdist/team-analyzev2.html?sonic_remain_params=gameseq;relaysvrentity;gamesvrentity\u0026gameseq=1652275973\u0026relaysvrentity=471270658\u0026playerid=1278639410\u0026roleName=麦兜\u0026uniqueRoleId=2211552603\u0026roleId=1278639410",
"battleDetailUrl": "smobagamehelper://hippy?modulename=battledetail\u0026toGameOpenId=258B0523E49BD41C7C01E7C8A1D8A3B6\u0026toServerId=2085\u0026toAreaId=2\u0026toAppRoleId=2211552603\u0026toGameRoleId=1278639410\u0026gameSvrId=206380\u0026relaySvrId=471270658\u0026gameSeq=1652275973\u0026pvpType=5\u0026acntCamp=2\u0026battleType=12",
"evaluateUrl": "http://camp.qq.com/meta-data/evaluate-v2/gold_warrior_1.png",
"heroIcon": "https://shp.qpic.cn/tgos/3443/1911424ee0eca526fea9d19727199af5/0",
"chessIds": ""
}, {
"dtEventTime": "1652275751",
"gametype": 4,
"winCamp": 1,
"gametime": "05-11 21:13",
"killcnt": 9,
"deadcnt": 1,
"assistcnt": 9,
"gameresult": 1,
"mvpcnt": 1,
"losemvp": 0,
"heroId": 132,
"AcntCamp": 1,
"teamNum": 2,
"mapName": "排位赛(双排)",
"detailUrl": "https://h5.kohsocialapp.qq.com/app/wzry/zj_detail?gameSvrId=206361\u0026relaySvrId=420939010\u0026gameseq=1652274683\u0026pvptype=5",
"rampage": 0,
"gameSvrId": "206361",
"relaySvrId": "420939010",
"gameSeq": "1652274683",
"pvpType": 5,
"multiCampRank": 1,
"battleType": 12,
"branchEvaluate": 5,
"oldMasterMatchScore": 0,
"newMasterMatchScore": 0,
"battleRoyaleEvaluate": 0,
"hero1TripleKillCnt": 1,
"hero1UltraKillCnt": 0,
"hero1RampageCnt": 0,
"sixKill": 0,
"sevenKill": 0,
"usedTime": 922,
"godLikeCnt": 1,
"firstBlood": 0,
"pveRateLvl": 0,
"playerRank": 0,
"winNum": 0,
"failNum": 0,
"roleJob": 25,
"roleJobName": "至尊星耀I",
"stars": 1,
"desc": "暴走局",
"analyseUrl": "https://camp.qq.com/h5/webdist/team-analyzev2.html?sonic_remain_params=gameseq;relaysvrentity;gamesvrentity\u0026gameseq=1652274683\u0026relaysvrentity=420939010\u0026playerid=1278639410\u0026roleName=麦兜\u0026uniqueRoleId=2211552603\u0026roleId=1278639410",
"battleDetailUrl": "smobagamehelper://hippy?modulename=battledetail\u0026toGameOpenId=258B0523E49BD41C7C01E7C8A1D8A3B6\u0026toServerId=2085\u0026toAreaId=2\u0026toAppRoleId=2211552603\u0026toGameRoleId=1278639410\u0026gameSvrId=206361\u0026relaySvrId=420939010\u0026gameSeq=1652274683\u0026pvpType=5\u0026acntCamp=1\u0026battleType=12",
"evaluateUrl": "http://camp.qq.com/meta-data/evaluate-v2/gold_archer_1.png",
"heroIcon": "https://shp.qpic.cn/tgos/1307/98ca31544a8ad9befc6c57643596ba31/0",
"chessIds": ""
}, {
"dtEventTime": "1652245267",
"gametype": 4,
"winCamp": 2,
"gametime": "05-11 12:41",
"killcnt": 10,
"deadcnt": 2,
"assistcnt": 14,
"gameresult": 1,
"mvpcnt": 1,
"losemvp": 0,
"heroId": 127,
"AcntCamp": 2,
"teamNum": 1,
"mapName": "排位赛",
"detailUrl": "https://h5.kohsocialapp.qq.com/app/wzry/zj_detail?gameSvrId=171110\u0026relaySvrId=85525250\u0026gameseq=1652243921\u0026pvptype=5",
"rampage": 0,
"gameSvrId": "171110",
"relaySvrId": "85525250",
"gameSeq": "1652243921",
"pvpType": 5,
"multiCampRank": 1,
"battleType": 16,
"branchEvaluate": 3,
"oldMasterMatchScore": 0,
"newMasterMatchScore": 0,
"battleRoyaleEvaluate": 0,
"hero1TripleKillCnt": 1,
"hero1UltraKillCnt": 0,
"hero1RampageCnt": 0,
"sixKill": 0,
"sevenKill": 0,
"usedTime": 1180,
"godLikeCnt": 1,
"firstBlood": 0,
"pveRateLvl": 0,
"playerRank": 0,
"winNum": 0,
"failNum": 0,
"roleJob": 24,
"roleJobName": "至尊星耀I",
"stars": 5,
"desc": "暴走局",
"analyseUrl": "https://camp.qq.com/h5/webdist/team-analyzev2.html?sonic_remain_params=gameseq;relaysvrentity;gamesvrentity\u0026gameseq=1652243921\u0026relaysvrentity=85525250\u0026playerid=1278639410\u0026roleName=麦兜\u0026uniqueRoleId=2211552603\u0026roleId=1278639410",
"battleDetailUrl": "smobagamehelper://hippy?modulename=battledetail\u0026toGameOpenId=258B0523E49BD41C7C01E7C8A1D8A3B6\u0026toServerId=2085\u0026toAreaId=2\u0026toAppRoleId=2211552603\u0026toGameRoleId=1278639410\u0026gameSvrId=171110\u0026relaySvrId=85525250\u0026gameSeq=1652243921\u0026pvpType=5\u0026acntCamp=2\u0026battleType=16",
"evaluateUrl": "http://camp.qq.com/meta-data/evaluate-v2/gold_mage_1.png",
"heroIcon": "https://shp.qpic.cn/tgos/9073/67972a2516caae267d0c146532d8c863/0",
"chessIds": ""
}, {
"dtEventTime": "1652198051",
"gametype": 4,
"winCamp": 2,
"gametime": "05-10 23:28",
"killcnt": 5,
"deadcnt": 8,
"assistcnt": 17,
"gameresult": 1,
"mvpcnt": 0,
"losemvp": 0,
"heroId": 126,
"AcntCamp": 2,
"teamNum": 1,
"mapName": "排位赛",
"detailUrl": "https://h5.kohsocialapp.qq.com/app/wzry/zj_detail?gameSvrId=169567\u0026relaySvrId=51970818\u0026gameseq=1652196356\u0026pvptype=5",
"rampage": 0,
"gameSvrId": "169567",
"relaySvrId": "51970818",
"gameSeq": "1652196356",
"pvpType": 5,
"multiCampRank": 1,
"battleType": 16,
"branchEvaluate": 0,
"oldMasterMatchScore": 0,
"newMasterMatchScore": 0,
"battleRoyaleEvaluate": 0,
"hero1TripleKillCnt": 0,
"hero1UltraKillCnt": 0,
"hero1RampageCnt": 0,
"sixKill": 0,
"sevenKill": 0,
"usedTime": 1527,
"godLikeCnt": 0,
"firstBlood": 0,
"pveRateLvl": 0,
"playerRank": 0,
"winNum": 0,
"failNum": 0,
"roleJob": 24,
"roleJobName": "至尊星耀I",
"stars": 4,
"desc": "",
"analyseUrl": "https://camp.qq.com/h5/webdist/team-analyzev2.html?sonic_remain_params=gameseq;relaysvrentity;gamesvrentity\u0026gameseq=1652196356\u0026relaysvrentity=51970818\u0026playerid=1278639410\u0026roleName=麦兜\u0026uniqueRoleId=2211552603\u0026roleId=1278639410",
"battleDetailUrl": "smobagamehelper://hippy?modulename=battledetail\u0026toGameOpenId=258B0523E49BD41C7C01E7C8A1D8A3B6\u0026toServerId=2085\u0026toAreaId=2\u0026toAppRoleId=2211552603\u0026toGameRoleId=1278639410\u0026gameSvrId=169567\u0026relaySvrId=51970818\u0026gameSeq=1652196356\u0026pvpType=5\u0026acntCamp=2\u0026battleType=16",
"evaluateUrl": "",
"heroIcon": "https://shp.qpic.cn/tgos/4918/47502dc25eed40f78d00e35ff3bc00be/0",
"chessIds": ""
}, {
"dtEventTime": "1652196266",
"gametype": 4,
"winCamp": 1,
"gametime": "05-10 23:02",
"killcnt": 10,
"deadcnt": 5,
"assistcnt": 5,
"gameresult": 1,
"mvpcnt": 0,
"losemvp": 0,
"heroId": 141,
"AcntCamp": 1,
"teamNum": 1,
"mapName": "排位赛",
"detailUrl": "https://h5.kohsocialapp.qq.com/app/wzry/zj_detail?gameSvrId=169366\u0026relaySvrId=219677442\u0026gameseq=1652194776\u0026pvptype=5",
"rampage": 0,
"gameSvrId": "169366",
"relaySvrId": "219677442",
"gameSeq": "1652194776",
"pvpType": 5,
"multiCampRank": 1,
"battleType": 16,
"branchEvaluate": 4,
"oldMasterMatchScore": 0,
"newMasterMatchScore": 0,
"battleRoyaleEvaluate": 0,
"hero1TripleKillCnt": 0,
"hero1UltraKillCnt": 0,
"hero1RampageCnt": 0,
"sixKill": 0,
"sevenKill": 0,
"usedTime": 1308,
"godLikeCnt": 0,
"firstBlood": 0,
"pveRateLvl": 0,
"playerRank": 0,
"winNum": 0,
"failNum": 0,
"roleJob": 24,
"roleJobName": "至尊星耀I",
"stars": 3,
"desc": "实力局",
"analyseUrl": "https://camp.qq.com/h5/webdist/team-analyzev2.html?sonic_remain_params=gameseq;relaysvrentity;gamesvrentity\u0026gameseq=1652194776\u0026relaysvrentity=219677442\u0026playerid=1278639410\u0026roleName=麦兜\u0026uniqueRoleId=2211552603\u0026roleId=1278639410",
"battleDetailUrl": "smobagamehelper://hippy?modulename=battledetail\u0026toGameOpenId=258B0523E49BD41C7C01E7C8A1D8A3B6\u0026toServerId=2085\u0026toAreaId=2\u0026toAppRoleId=2211552603\u0026toGameRoleId=1278639410\u0026gameSvrId=169366\u0026relaySvrId=219677442\u0026gameSeq=1652194776\u0026pvpType=5\u0026acntCamp=1\u0026battleType=16",
"evaluateUrl": "http://camp.qq.com/meta-data/evaluate-v2/silver_mage_1.png",
"heroIcon": "https://shp.qpic.cn/tgos/201703m3/644f0ca92ff377159707446451cfe010/0",
"chessIds": ""
}, {
"dtEventTime": "1652194688",
"gametype": 4,
"winCamp": 1,
"gametime": "05-10 22:45",
"killcnt": 8,
"deadcnt": 2,
"assistcnt": 1,
"gameresult": 1,
"mvpcnt": 0,
"losemvp": 0,
"heroId": 141,
"AcntCamp": 1,
"teamNum": 1,
"mapName": "排位赛",
"detailUrl": "https://h5.kohsocialapp.qq.com/app/wzry/zj_detail?gameSvrId=168726\u0026relaySvrId=135856898\u0026gameseq=1652193706\u0026pvptype=5",
"rampage": 0,
"gameSvrId": "168726",
"relaySvrId": "135856898",
"gameSeq": "1652193706",
"pvpType": 5,
"multiCampRank": 1,
"battleType": 16,
"branchEvaluate": 0,
"oldMasterMatchScore": 0,
"newMasterMatchScore": 0,
"battleRoyaleEvaluate": 0,
"hero1TripleKillCnt": 0,
"hero1UltraKillCnt": 0,
"hero1RampageCnt": 0,
"sixKill": 0,
"sevenKill": 0,
"usedTime": 784,
"godLikeCnt": 0,
"firstBlood": 0,
"pveRateLvl": 0,
"playerRank": 0,
"winNum": 0,
"failNum": 0,
"roleJob": 24,
"roleJobName": "至尊星耀I",
"stars": 2,
"desc": "",
"analyseUrl": "https://camp.qq.com/h5/webdist/team-analyzev2.html?sonic_remain_params=gameseq;relaysvrentity;gamesvrentity\u0026gameseq=1652193706\u0026relaysvrentity=135856898\u0026playerid=1278639410\u0026roleName=麦兜\u0026uniqueRoleId=2211552603\u0026roleId=1278639410",
"battleDetailUrl": "smobagamehelper://hippy?modulename=battledetail\u0026toGameOpenId=258B0523E49BD41C7C01E7C8A1D8A3B6\u0026toServerId=2085\u0026toAreaId=2\u0026toAppRoleId=2211552603\u0026toGameRoleId=1278639410\u0026gameSvrId=168726\u0026relaySvrId=135856898\u0026gameSeq=1652193706\u0026pvpType=5\u0026acntCamp=1\u0026battleType=16",
"evaluateUrl": "",
"heroIcon": "https://shp.qpic.cn/tgos/201703m3/644f0ca92ff377159707446451cfe010/0",
"chessIds": ""
}, {
"dtEventTime": "1652155206",
"gametype": 4,
"winCamp": 2,
"gametime": "05-10 11:48",
"killcnt": 5,
"deadcnt": 2,
"assistcnt": 10,
"gameresult": 1,
"mvpcnt": 0,
"losemvp": 0,
"heroId": 518,
"AcntCamp": 2,
"teamNum": 2,
"mapName": "排位赛(双排)",
"detailUrl": "https://h5.kohsocialapp.qq.com/app/wzry/zj_detail?gameSvrId=140104\u0026relaySvrId=18350338\u0026gameseq=1652154306\u0026pvptype=5",
"rampage": 0,
"gameSvrId": "140104",
"relaySvrId": "18350338",
"gameSeq": "1652154306",
"pvpType": 5,
"multiCampRank": 1,
"battleType": 12,
"branchEvaluate": 2,
"oldMasterMatchScore": 0,
"newMasterMatchScore": 0,
"battleRoyaleEvaluate": 0,
"hero1TripleKillCnt": 0,
"hero1UltraKillCnt": 0,
"hero1RampageCnt": 0,
"sixKill": 0,
"sevenKill": 0,
"usedTime": 710,
"godLikeCnt": 0,
"firstBlood": 0,
"pveRateLvl": 0,
"playerRank": 0,
"winNum": 0,
"failNum": 0,
"roleJob": 24,
"roleJobName": "至尊星耀I",
"stars": 1,
"desc": "实力局",
"analyseUrl": "https://camp.qq.com/h5/webdist/team-analyzev2.html?sonic_remain_params=gameseq;relaysvrentity;gamesvrentity\u0026gameseq=1652154306\u0026relaysvrentity=18350338\u0026playerid=1278639410\u0026roleName=麦兜\u0026uniqueRoleId=2211552603\u0026roleId=1278639410",
"battleDetailUrl": "smobagamehelper://hippy?modulename=battledetail\u0026toGameOpenId=258B0523E49BD41C7C01E7C8A1D8A3B6\u0026toServerId=2085\u0026toAreaId=2\u0026toAppRoleId=2211552603\u0026toGameRoleId=1278639410\u0026gameSvrId=140104\u0026relaySvrId=18350338\u0026gameSeq=1652154306\u0026pvpType=5\u0026acntCamp=2\u0026battleType=12",
"evaluateUrl": "http://camp.qq.com/meta-data/evaluate-v2/silver_warrior_1.png",
"heroIcon": "https://shp.qpic.cn/tgos/3443/1911424ee0eca526fea9d19727199af5/0",
"chessIds": ""
}, {
"dtEventTime": "1652154265",
"gametype": 4,
"winCamp": 1,
"gametime": "05-10 11:26",
"killcnt": 14,
"deadcnt": 6,
"assistcnt": 9,
"gameresult": 1,
"mvpcnt": 1,
"losemvp": 0,
"heroId": 199,
"AcntCamp": 1,
"teamNum": 2,
"mapName": "排位赛(双排)",
"detailUrl": "https://h5.kohsocialapp.qq.com/app/wzry/zj_detail?gameSvrId=139968\u0026relaySvrId=823656706\u0026gameseq=1652153007\u0026pvptype=5",
"rampage": 0,
"gameSvrId": "139968",
"relaySvrId": "823656706",
"gameSeq": "1652153007",
"pvpType": 5,
"multiCampRank": 1,
"battleType": 12,
"branchEvaluate": 6,
"oldMasterMatchScore": 0,
"newMasterMatchScore": 0,
"battleRoyaleEvaluate": 0,
"hero1TripleKillCnt": 0,
"hero1UltraKillCnt": 0,
"hero1RampageCnt": 0,
"sixKill": 0,
"sevenKill": 0,
"usedTime": 1102,
"godLikeCnt": 0,
"firstBlood": 0,
"pveRateLvl": 0,
"playerRank": 0,
"winNum": 0,
"failNum": 0,
"roleJob": 23,
"roleJobName": "至尊星耀I",
"stars": 5,
"desc": "实力局",
"analyseUrl": "https://camp.qq.com/h5/webdist/team-analyzev2.html?sonic_remain_params=gameseq;relaysvrentity;gamesvrentity\u0026gameseq=1652153007\u0026relaysvrentity=823656706\u0026playerid=1278639410\u0026roleName=麦兜\u0026uniqueRoleId=2211552603\u0026roleId=1278639410",
"battleDetailUrl": "smobagamehelper://hippy?modulename=battledetail\u0026toGameOpenId=258B0523E49BD41C7C01E7C8A1D8A3B6\u0026toServerId=2085\u0026toAreaId=2\u0026toAppRoleId=2211552603\u0026toGameRoleId=1278639410\u0026gameSvrId=139968\u0026relaySvrId=823656706\u0026gameSeq=1652153007\u0026pvpType=5\u0026acntCamp=1\u0026battleType=12",
"evaluateUrl": "http://camp.qq.com/meta-data/evaluate-v2/silver_archer_1.png",
"heroIcon": "https://shp.qpic.cn/tgos/14259/0a8ca6dc16b0c8fc1d03f88676e9ed73/0",
"chessIds": ""
}, {
"dtEventTime": "1652152972",
"gametype": 4,
"winCamp": 1,
"gametime": "05-10 11:08",
"killcnt": 6,
"deadcnt": 6,
"assistcnt": 11,
"gameresult": 1,
"mvpcnt": 0,
"losemvp": 0,
"heroId": 131,
"AcntCamp": 1,
"teamNum": 2,
"mapName": "排位赛(双排)",
"detailUrl": "https://h5.kohsocialapp.qq.com/app/wzry/zj_detail?gameSvrId=139555\u0026relaySvrId=958005506\u0026gameseq=1652151996\u0026pvptype=5",
"rampage": 0,
"gameSvrId": "139555",
"relaySvrId": "958005506",
"gameSeq": "1652151996",
"pvpType": 5,
"multiCampRank": 1,
"battleType": 12,
"branchEvaluate": 0,
"oldMasterMatchScore": 0,
"newMasterMatchScore": 0,
"battleRoyaleEvaluate": 0,
"hero1TripleKillCnt": 0,
"hero1UltraKillCnt": 0,
"hero1RampageCnt": 0,
"sixKill": 0,
"sevenKill": 0,
"usedTime": 845,
"godLikeCnt": 0,
"firstBlood": 0,
"pveRateLvl": 0,
"playerRank": 0,
"winNum": 0,
"failNum": 0,
"roleJob": 23,
"roleJobName": "至尊星耀I",
"stars": 4,
"desc": "",
"analyseUrl": "https://camp.qq.com/h5/webdist/team-analyzev2.html?sonic_remain_params=gameseq;relaysvrentity;gamesvrentity\u0026gameseq=1652151996\u0026relaysvrentity=958005506\u0026playerid=1278639410\u0026roleName=麦兜\u0026uniqueRoleId=2211552603\u0026roleId=1278639410",
"battleDetailUrl": "smobagamehelper://hippy?modulename=battledetail\u0026toGameOpenId=258B0523E49BD41C7C01E7C8A1D8A3B6\u0026toServerId=2085\u0026toAreaId=2\u0026toAppRoleId=2211552603\u0026toGameRoleId=1278639410\u0026gameSvrId=139555\u0026relaySvrId=958005506\u0026gameSeq=1652151996\u0026pvpType=5\u0026acntCamp=1\u0026battleType=12",
"evaluateUrl": "",
"heroIcon": "https://shp.qpic.cn/tgos/33574/7ef719b6228bd987671fdec3fe71aaeb/0",
"chessIds": ""
}, {
"dtEventTime": "1652151877",
"gametype": 4,
"winCamp": 1,
"gametime": "05-10 10:53",
"killcnt": 3,
"deadcnt": 6,
"assistcnt": 2,
"gameresult": 2,
"mvpcnt": 0,
"losemvp": 0,
"heroId": 141,
"AcntCamp": 2,
"teamNum": 2,
"mapName": "排位赛(双排)",
"detailUrl": "https://h5.kohsocialapp.qq.com/app/wzry/zj_detail?gameSvrId=139660\u0026relaySvrId=186056962\u0026gameseq=1652151009\u0026pvptype=5",
"rampage": 0,
"gameSvrId": "139660",
"relaySvrId": "186056962",
"gameSeq": "1652151009",
"pvpType": 5,
"multiCampRank": 2,
"battleType": 12,
"branchEvaluate": 0,
"oldMasterMatchScore": 0,
"newMasterMatchScore": 0,
"battleRoyaleEvaluate": 0,
"hero1TripleKillCnt": 0,
"hero1UltraKillCnt": 0,
"hero1RampageCnt": 0,
"sixKill": 0,
"sevenKill": 0,
"usedTime": 671,
"godLikeCnt": 0,
"firstBlood": 0,
"pveRateLvl": 0,
"playerRank": 0,
"winNum": 0,
"failNum": 0,
"roleJob": 23,
"roleJobName": "至尊星耀I",
"stars": 3,
"desc": "",
"analyseUrl": "https://camp.qq.com/h5/webdist/team-analyzev2.html?sonic_remain_params=gameseq;relaysvrentity;gamesvrentity\u0026gameseq=1652151009\u0026relaysvrentity=186056962\u0026playerid=1278639410\u0026roleName=麦兜\u0026uniqueRoleId=2211552603\u0026roleId=1278639410",
"battleDetailUrl": "smobagamehelper://hippy?modulename=battledetail\u0026toGameOpenId=258B0523E49BD41C7C01E7C8A1D8A3B6\u0026toServerId=2085\u0026toAreaId=2\u0026toAppRoleId=2211552603\u0026toGameRoleId=1278639410\u0026gameSvrId=139660\u0026relaySvrId=186056962\u0026gameSeq=1652151009\u0026pvpType=5\u0026acntCamp=2\u0026battleType=12",
"evaluateUrl": "",
"heroIcon": "https://shp.qpic.cn/tgos/201703m3/644f0ca92ff377159707446451cfe010/0",
"chessIds": ""
}, {
"dtEventTime": "1652150942",
"gametype": 4,
"winCamp": 2,
"gametime": "05-10 10:35",
"killcnt": 3,
"deadcnt": 8,
"assistcnt": 2,
"gameresult": 2,
"mvpcnt": 0,
"losemvp": 0,
"heroId": 528,
"AcntCamp": 1,
"teamNum": 2,
"mapName": "排位赛(双排)",
"detailUrl": "https://h5.kohsocialapp.qq.com/app/wzry/zj_detail?gameSvrId=114734\u0026relaySvrId=2014906369\u0026gameseq=1652149940\u0026pvptype=5",
"rampage": 0,
"gameSvrId": "114734",
"relaySvrId": "2014906369",
"gameSeq": "1652149940",
"pvpType": 5,
"multiCampRank": 2,
"battleType": 12,
"branchEvaluate": 0,
"oldMasterMatchScore": 0,
"newMasterMatchScore": 0,
"battleRoyaleEvaluate": 0,
"hero1TripleKillCnt": 0,
"hero1UltraKillCnt": 0,
"hero1RampageCnt": 0,
"sixKill": 0,
"sevenKill": 0,
"usedTime": 808,
"godLikeCnt": 0,
"firstBlood": 0,
"pveRateLvl": 0,
"playerRank": 0,
"winNum": 0,
"failNum": 0,
"roleJob": 23,
"roleJobName": "至尊星耀I",
"stars": 4,
"desc": "",
"analyseUrl": "https://camp.qq.com/h5/webdist/team-analyzev2.html?sonic_remain_params=gameseq;relaysvrentity;gamesvrentity\u0026gameseq=1652149940\u0026relaysvrentity=2014906369\u0026playerid=1278639410\u0026roleName=麦兜\u0026uniqueRoleId=2211552603\u0026roleId=1278639410",
"battleDetailUrl": "smobagamehelper://hippy?modulename=battledetail\u0026toGameOpenId=258B0523E49BD41C7C01E7C8A1D8A3B6\u0026toServerId=2085\u0026toAreaId=2\u0026toAppRoleId=2211552603\u0026toGameRoleId=1278639410\u0026gameSvrId=114734\u0026relaySvrId=2014906369\u0026gameSeq=1652149940\u0026pvpType=5\u0026acntCamp=1\u0026battleType=12",
"evaluateUrl": "",
"heroIcon": "https://shp.qpic.cn/tgos/3646/3abcce1a97a46707b5471e36c5b3202f/0",
"chessIds": ""
}, {
"dtEventTime": "1652149877",
"gametype": 4,
"winCamp": 1,
"gametime": "05-10 10:20",
"killcnt": 12,
"deadcnt": 2,
"assistcnt": 7,
"gameresult": 1,
"mvpcnt": 1,
"losemvp": 0,
"heroId": 502,
"AcntCamp": 1,
"teamNum": 2,
"mapName": "排位赛(双排)",
"detailUrl": "https://h5.kohsocialapp.qq.com/app/wzry/zj_detail?gameSvrId=114245\u0026relaySvrId=1494747137\u0026gameseq=1652149040\u0026pvptype=5",
"rampage": 0,
"gameSvrId": "114245",
"relaySvrId": "1494747137",
"gameSeq": "1652149040",
"pvpType": 5,
"multiCampRank": 1,
"battleType": 12,
"branchEvaluate": 7,
"oldMasterMatchScore": 0,
"newMasterMatchScore": 0,
"battleRoyaleEvaluate": 0,
"hero1TripleKillCnt": 0,
"hero1UltraKillCnt": 0,
"hero1RampageCnt": 0,
"sixKill": 0,
"sevenKill": 0,
"usedTime": 673,
"godLikeCnt": 0,
"firstBlood": 0,
"pveRateLvl": 0,
"playerRank": 0,
"winNum": 0,
"failNum": 0,
"roleJob": 23,
"roleJobName": "至尊星耀I",
"stars": 5,
"desc": "暴走局",
"analyseUrl": "https://camp.qq.com/h5/webdist/team-analyzev2.html?sonic_remain_params=gameseq;relaysvrentity;gamesvrentity\u0026gameseq=1652149040\u0026relaysvrentity=1494747137\u0026playerid=1278639410\u0026roleName=麦兜\u0026uniqueRoleId=2211552603\u0026roleId=1278639410",
"battleDetailUrl": "smobagamehelper://hippy?modulename=battledetail\u0026toGameOpenId=258B0523E49BD41C7C01E7C8A1D8A3B6\u0026toServerId=2085\u0026toAreaId=2\u0026toAppRoleId=2211552603\u0026toGameRoleId=1278639410\u0026gameSvrId=114245\u0026relaySvrId=1494747137\u0026gameSeq=1652149040\u0026pvpType=5\u0026acntCamp=1\u0026battleType=12",
"evaluateUrl": "http://camp.qq.com/meta-data/evaluate-v2/gold_assassin_1.png",
"heroIcon": "https://shp.qpic.cn/tgos/5303/dafffc797ab132f121bec439bd57d5a7/0",
"chessIds": ""
}, {
"dtEventTime": "1652148992",
"gametype": 4,
"winCamp": 1,
"gametime": "05-10 10:06",
"killcnt": 4,
"deadcnt": 1,
"assistcnt": 10,
"gameresult": 1,
"mvpcnt": 0,
"losemvp": 0,
"heroId": 132,
"AcntCamp": 1,
"teamNum": 2,
"mapName": "排位赛(双排)",
"detailUrl": "https://h5.kohsocialapp.qq.com/app/wzry/zj_detail?gameSvrId=196503\u0026relaySvrId=387450114\u0026gameseq=1652148215\u0026pvptype=5",
"rampage": 0,
"gameSvrId": "196503",
"relaySvrId": "387450114",
"gameSeq": "1652148215",
"pvpType": 5,
"multiCampRank": 1,
"battleType": 12,
"branchEvaluate": 6,
"oldMasterMatchScore": 0,
"newMasterMatchScore": 0,
"battleRoyaleEvaluate": 0,
"hero1TripleKillCnt": 0,
"hero1UltraKillCnt": 0,
"hero1RampageCnt": 0,
"sixKill": 0,
"sevenKill": 0,
"usedTime": 621,
"godLikeCnt": 0,
"firstBlood": 0,
"pveRateLvl": 0,
"playerRank": 0,
"winNum": 0,
"failNum": 0,
"roleJob": 23,
"roleJobName": "至尊星耀I",
"stars": 4,
"desc": "实力局",
"analyseUrl": "https://camp.qq.com/h5/webdist/team-analyzev2.html?sonic_remain_params=gameseq;relaysvrentity;gamesvrentity\u0026gameseq=1652148215\u0026relaysvrentity=387450114\u0026playerid=1278639410\u0026roleName=麦兜\u0026uniqueRoleId=2211552603\u0026roleId=1278639410",
"battleDetailUrl": "smobagamehelper://hippy?modulename=battledetail\u0026toGameOpenId=258B0523E49BD41C7C01E7C8A1D8A3B6\u0026toServerId=2085\u0026toAreaId=2\u0026toAppRoleId=2211552603\u0026toGameRoleId=1278639410\u0026gameSvrId=196503\u0026relaySvrId=387450114\u0026gameSeq=1652148215\u0026pvpType=5\u0026acntCamp=1\u0026battleType=12",
"evaluateUrl": "http://camp.qq.com/meta-data/evaluate-v2/silver_archer_1.png",
"heroIcon": "https://shp.qpic.cn/tgos/1307/98ca31544a8ad9befc6c57643596ba31/0",
"chessIds": ""
}],
"lastTime": "1652148992",
"hasMore": true,
"straightWin": 0,
"straightLose": 0,
"gaming": null,
"invisible": false,
"invisDes": "",
"returnTime": "1652405927",
"options": [{
"key": 0,
"value": "全部比赛"
}, {
"key": 1,
"value": "排位赛"
}, {
"key": 2,
"value": "标准模式"
}, {
"key": 3,
"value": "娱乐模式"
}, {
"key": 4,
"value": "巅峰赛"
}, {
"key": 5,
"value": "五军对决"
}, {
"key": 6,
"value": "边境突围"
}, {
"key": 7,
"value": "5v5"
}, {
"key": 8,
"value": "3v3"
}, {
"key": 9,
"value": "1v1"
}, {
"key": 10,
"value": "战队赛"
}, {
"key": 11,
"value": "微赛事"
}],
"isGaming": false
}
}
- 字段含义整理
| 参数名 | 类型 | 说明 |
|---|---|---|
| roleId | String | 角色ID |
| gametime | String | 游戏时间 |
| killcnt | String | 杀敌数 |
| deadcnt | String | 死亡次数 |
| assistcnt | String | 助攻 |
| evaluateUrl | String | 图标 |
| mvpcnt | String | MVP 0否 1是 |
| godLikeCnt | String | 超神 0否 1是 |
| hero1TripleKillCnt | String | 3杀 0否 1是 |
| desc | String | 备注说明 尽力局等 |
| mapName | String | 比赛类型 |
| heroIcon | String | 比赛英雄图标 |
| relaySvrId | String | relaySvrId |
| gameSeq | String | gameSeq |
| gameSvrId | String | gameSvrId |
还有很多接口可以去分析,这里不占用过多篇幅,感兴趣可以评论观看
工具篇
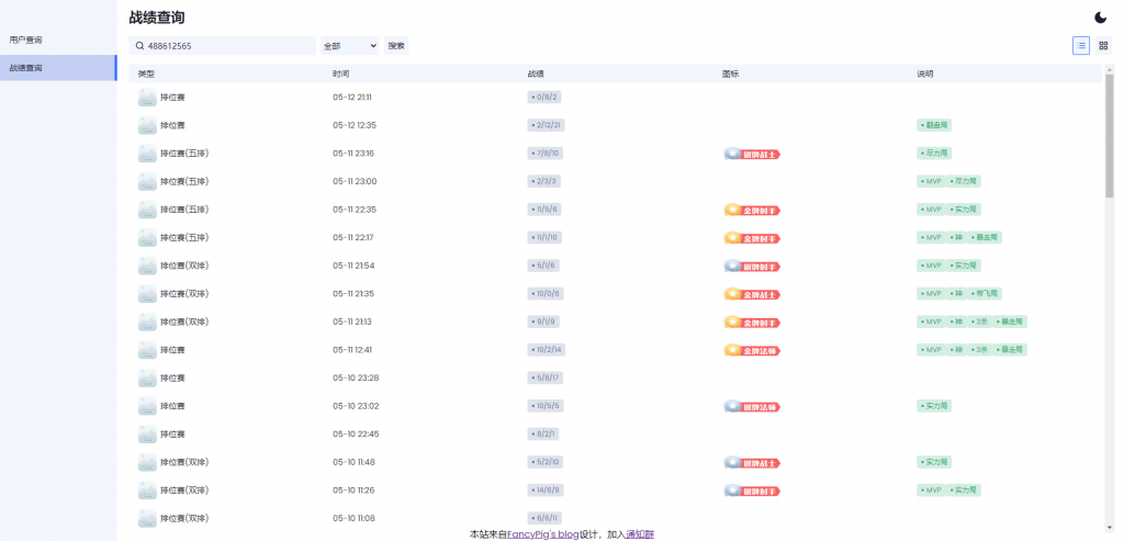
营地数据战绩工具
通过抓包分析得到的相应接口做成工具,我们可以快速输入营地ID获取战绩、对局信息

进入工具,输入对应的ID


我们还可以具体点开某一把,看一下详细的情况

王者荣耀ID查询营地ID工具
原理分析
这里目测接口的来源是根据营地里的游戏ID查询功能



接口地址
通过上述界面,有网友将其制作成了接口的方式
你需要将下面的玩家游戏名称替换成你要查询的王者荣耀ID
http://82.157.7.86:2530/pvp/index/search.php?name=玩家游戏名称
譬如,我们这里想看看游戏里叫猪猪侠的营地ID,点击查询
http://82.157.7.86:2530/pvp/index/search.php?name=猪猪侠
然后就可以看到这些信息了

王者荣耀历史赛季战绩查询
很多时候我们在游戏中会发现,我们关注的朋友对我们隐藏了战绩表现


你可以在上面的工具输入营地ID,然后点击查询所有区服,点击当前赛季信息

然后就可以跳转到官方的营地历史战绩页面,这样的话即使是隐藏了,也可以看到玩家玩了哪些英雄,是不是还蛮神奇的!
